近期,国家税务总局出台《关于阶段性加快出口退税办理进度有关工作的通知》(税总货劳函〔2022〕83号),通过阶段性加快出口退税进度等措施,促进外贸保稳提质,提升对外开放水平。
那么作为一家新开始涉及出口业务的企业,如何在电子税务局办理备案呢?今天我们就一起来学习一下吧~
办理

路径
纳税人登录电子税务局,点击菜单栏【我要办税】中的【出口退税管理】模块,点击【出口退(免)税资格信息报告】即进入办理页面。


出口退(免)税备案事项 办理流程 大致分为:
数据采集→数据生成→附列资料上传→远程申报→税务事项通知书下载。
第一步:数据采集
首先进入出口退(免)税备案数据采集页面,办理页面功能按钮包括:采集、修改、申报上传。

在办理页面,点击【采集】按钮,系统弹出“出口退(免)税备案采集”窗体。

第二步:数据生成
在信息采集页面采集数据,其中退税开户银行及退税开户银行账号系统会自动带出,若带出内容为空,企业需手动采集,当数据采集完成后,点击【下一步】按钮,进入信息确认页面,信息确认页面显示采集后的数据,数据只可查看不可修改。

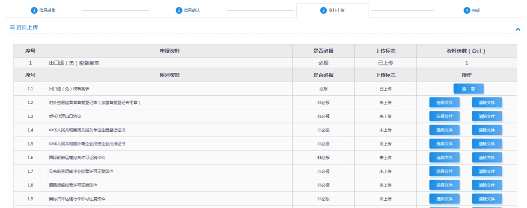
第三步:附列资料上传
确认采集数据无误后,点击【下一步】按钮,进入资料上传页面。

企业根据实际情况进行附列资料的上传,“出口退(免)税备案表”系统会自动上传,不需企业手动上传。
注意事项
为了保证附列资料文件格式统一,上传文件格式只支持ZIP格式文件。同时,为了保证税务机关高效地进行资料审核,上传附列资料的文件名称需要与资料名称一致,如不一致系统会弹出如下提示,纳税人点击【确定】后,系统将会自动帮助纳税人进行快捷调整。

第四步:远程申报
资料上传完成后,点击【下一步】按钮,进入完成页面。系统自动生成一条出口退(免)税备案申报数据,并且在办理页面显示该条申报数据。

1
申报上传
在办理页面,点击【申报上传】按钮,将申报数据进行远程申报。

2
已申报数据状态查询
税务机关办理后,则可进行后续文书下载等操作。

第五步:办理结果下载
针对税务机关办理完成的事项,纳税人可下载税务事项通知书等相关资料。正式申报成功后,当审核状态为“已完结”,可在办理页面操作列,点击【受理回执】按钮,下载相关事项文书。
